当前位置: 首页 >> 已删除 >> 合作机构 >> 正文
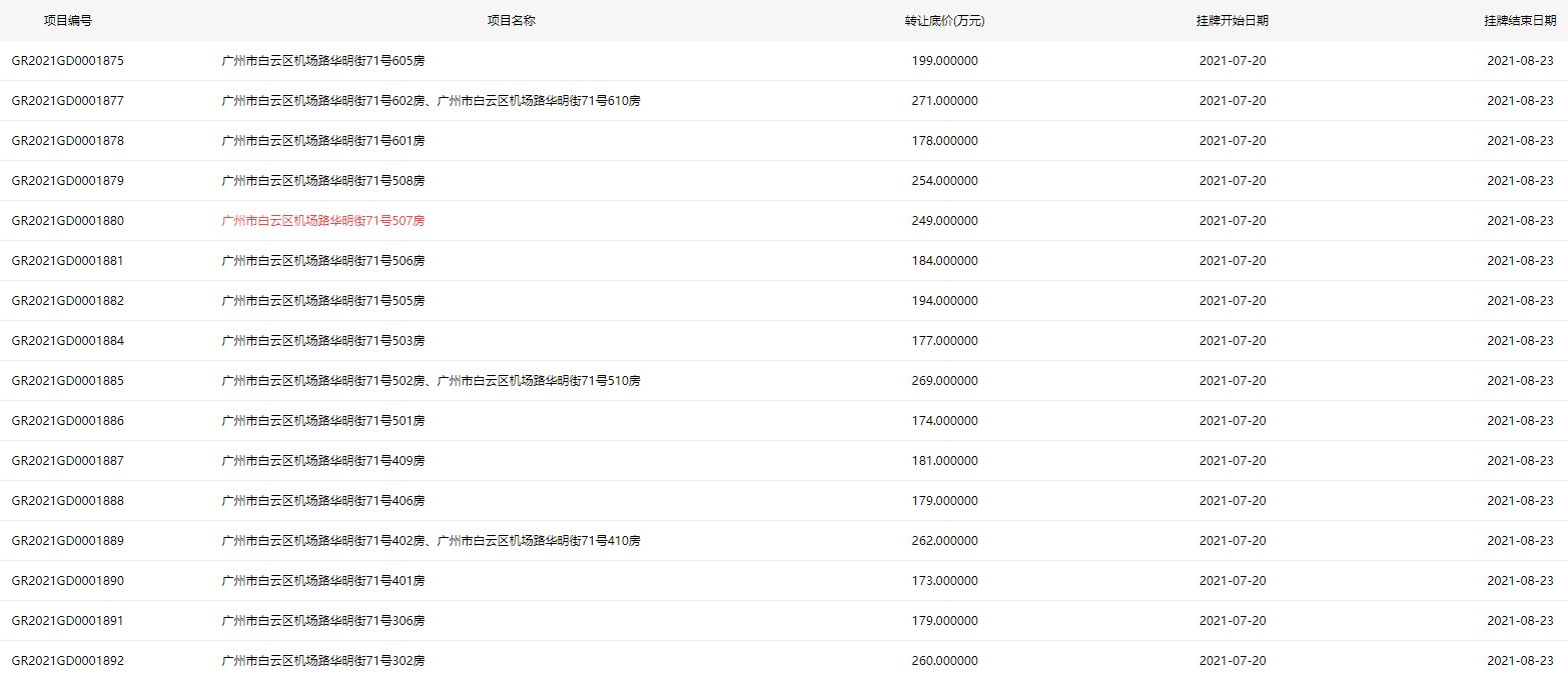
广东省石油化工物资有限公司拟处置物业资产49套项目
2021年08月17日


原文链接:

http://www.gduaee.com/portal/page?to=packPros&seId=&packId=7cc5c147c1224d9db630d1534d860443&pageIndex=1